by
胜万铭
本实用新型涉及钣金加工技术领域,特别是一种用于精密钣金钻孔加工的专用机架设备。
在钣金加工过程中,钻孔是连接钣金件的重要工序。传统加工机架存在废屑收集不完善的问题,如公开号为CN210387666U的专利中,钻孔产生的废屑直接落在往复单元上,容易造成卡塞故障,影响设备正常运行。本实用新型针对这一技术缺陷进行了创新性改进。
本机架主要包括以下核心组件:
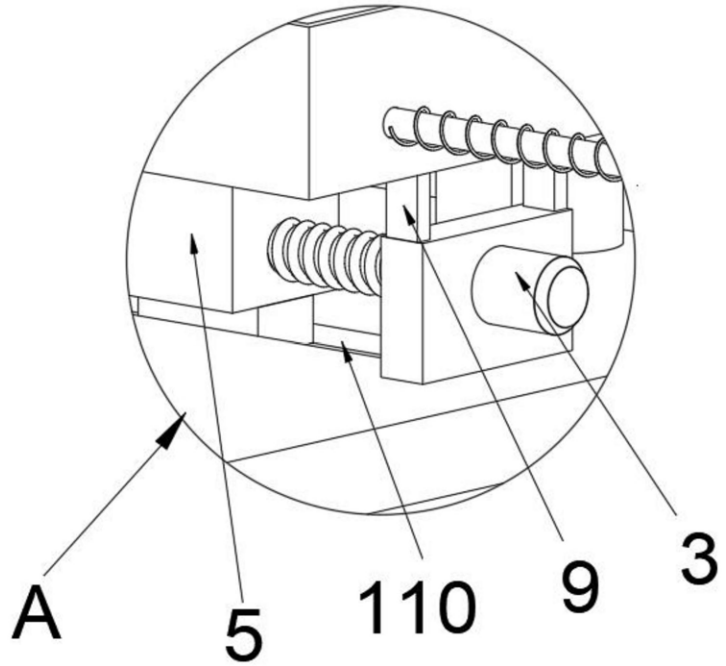
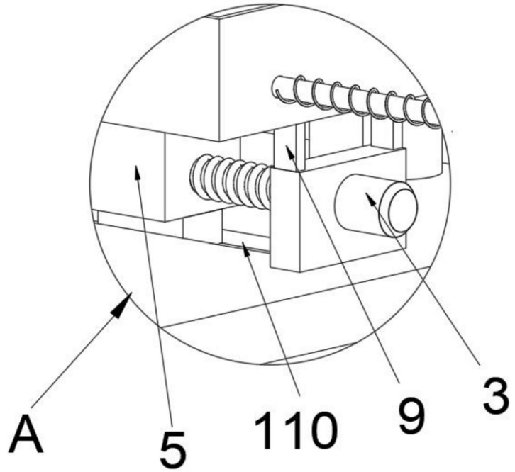
工作台(1):设备基础平台
往复运动系统:由第一支撑块(2)、第一电机(3)、驱动杆(4)和移动块(5)组成
旋转定位系统:包含第二电机(6)和旋转台(7)
废屑收集系统:聚拢盒(10)、收集箱(13)和推料机构
打孔执行系统:电动升降杆(17)、电动伸缩杆(20)和打孔单元(21)

聚拢盒设计:设置在旋转台下方,通过开口(11)和弹性连接布(12)实现废屑收集
推料清理机构:采用推料板(15)和毛刷(1510)组合,通过推动杆(16)操作
防卡塞结构:弹性连接布既能收集废屑,又不影响往复单元正常运行
固定单元(8)采用电动夹持设计,配备橡胶垫确保夹持稳定性 旋转台(7)边缘预设钻孔位,实现精准定位打孔

工件固定:通过固定单元(8)将钣金件固定在旋转台(7)上
定位调整:第一电机(3)驱动移动块(5)水平移动,第二电机(6)调整旋转角度
打孔作业:电动升降杆(17)和电动伸缩杆(20)协同控制打孔单元(21)完成钻孔
废屑处理:废屑落入聚拢盒(10)后,通过推动杆(16)将废屑推入收集箱(13)
限位机构:限位块(510)与限位槽(110)配合确保移动精度
弹性密封:弹性连接布(12)采用滑块滑槽连接,适应移动需求
复位功能:复位弹簧(1610)实现推料板自动复位

特性 | 传统机架 | 本实用新型 |
|---|---|---|
废屑处理 | 直接落于工作台 | 集中收集清理 |
设备维护 | 易卡塞需频繁清理 | 长期稳定运行 |
加工精度 | 受废屑影响 | 持续保持精度 |
环境清洁 | 污染严重 | 清洁环保 |
图1:展示机架整体结构布局和主要组件关系
图2:体现废屑收集系统的安装位置和连接方式
图3:显示打孔系统的结构配置和运动关系
图4:详细展示推料机构和毛刷的工作机制
本实用新型通过创新的废屑收集系统和精密的定位机构,有效解决了传统钣金加工机架的技术痛点,显著提高了加工精度和设备可靠性。