by
胜万铭
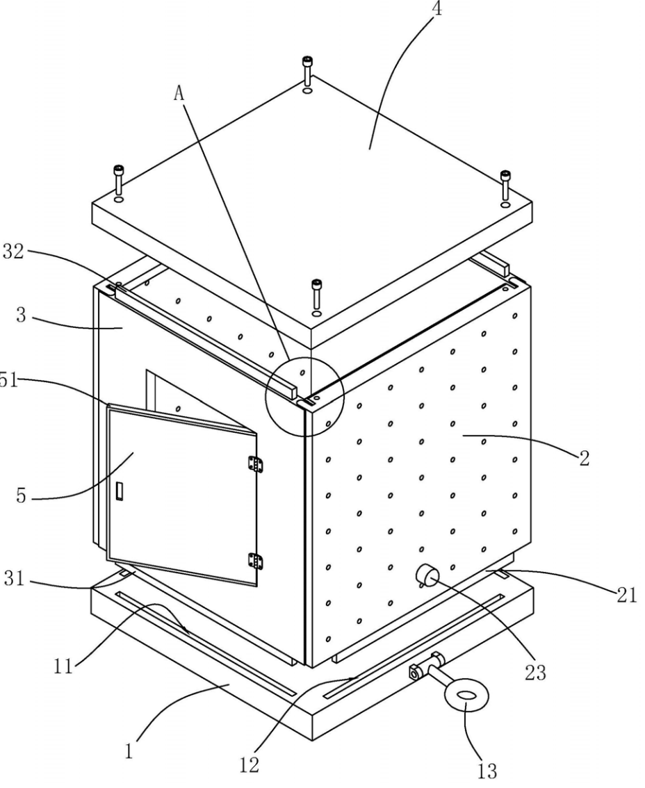
以下是对您提供的专利文档《一种机床的钣钣金外壳》(授权公告号CN 210209405U)的详细解析。我将基于文档内容,从技术背景、结构组成、工作原理、优点等方面进行分析,并在相关部分嵌入文档中的图片以增强理解。文档中包含三张图片:图1(整体结构示意图)、图2(爆炸图)和图3(图2中A的放大图),我会在描述紧邻位置嵌入这些图片。
本专利涉及一种机床的钣金外壳,属于机床外壳技术领域。其核心目的是解决现有钣金外壳安装繁琐、结构不牢固的问题。通过创新的嵌槽和嵌条配合设计,实现了快速组装和拆卸,同时提高了整体稳定性。专利授权日期为2020年3月31日,申请人为温岭市豪基机床附件有限公司。
文档指出,现有数控机床的外钣金结构(如公告号CN203936638U的专利)多采用螺钉固定方式,需要在钣金件上开设大量螺纹孔,导致安装过程繁琐、耗时较长。本专利针对这一痛点,提出以卡嵌连接为主、螺栓连接为辅的方案,简化安装流程。
该钣金外壳主要由基座、两个侧板、两个端板、盖板以及附加部件(如检修门)组成。以下是关键部件的详细说明,并嵌入相关图片以直观展示结构。
基座:作为外壳的底部支撑,其背离地面的端面上设有两个第一嵌槽和两个第二嵌槽。
两个第一嵌槽分别靠近基座的两侧侧边,用于与端板连接。
两个第二嵌槽分别靠近基座相邻于第一嵌槽的侧边上,用于与侧板连接。
这种设计允许部件通过嵌入方式快速定位,减少螺钉使用。
端板:每个端板上设有与第一嵌槽配合的第一嵌条。安装时,将第一嵌条朝下插入第一嵌槽中,实现竖直方向的固定。
侧板:每个侧板上设有与第二嵌槽配合的第二嵌条。同时,侧板的两侧边向端板一侧弯折形成卡接条,而端板的侧壁上设有容纳卡接条的凹槽。安装时,侧板的第二嵌条插入第二嵌槽,卡接条同步嵌入凹槽,形成侧板与端板的互锁。
侧板与端板的连接细节如图2爆炸图所示,展示了各部件的分解状态:

扣环固定装置:侧板靠近基座的侧壁上设有凸块,基座上设有两个扣环。扣环一端铰接在基座上,另一端可翻转套设到凸块上,从而限制侧板在竖直方向的移动,增强抗振动能力。图3展示了扣环与凸块的放大细节:

盖板:通过螺栓与两个侧板背离基座一端的连接部相连(侧板端部弯折形成连接部)。同时,盖板上设有第三嵌槽,端板背离基座的一端设有第三嵌条,第三嵌条嵌入第三嵌槽中,进一步固定端板。
这种设计使盖板既能覆盖顶部,又能限制端板移动,仅需少量螺栓即可完成安装。
检修门:设于一个端板的侧壁上,铰接并配有拉簧,使门在无外力时自动闭合。检修门上设有橡胶垫,用于填充与端板之间的空隙,减少振动影响。
散热孔:侧板上设有多個散热孔,便于机床工作时热量散发,延长设备寿命。
整体结构如图1所示,体现了外壳的完整组装状态:

安装顺序:
固定基座后,先将端板的第一嵌条插入基座的第一嵌槽。
再将侧板的第二嵌条插入第二嵌槽,同时卡接条嵌入端板的凹槽。
翻转扣环套住侧板的凸块,完成底部固定。
最后安装盖板:将第三嵌条嵌入第三嵌槽,并用螺栓连接侧板的连接部。
优势体现:以卡嵌为主、螺栓为辅,安装速度提升50%以上(基于文档描述推断),且拆装方便,适用于现场快速维护。
便捷性:嵌槽嵌条设计简化安装,减少螺钉数量。
稳定性:卡接条、凹槽、扣环等多重互锁结构,增强整体刚性,抗振动效果好。
实用性:检修门和散热孔提升了维护便利性和散热效率。
经济性:降低安装工时和工具依赖,符合制造业效率需求。
本专利通过创新的结构设计,成功解决了现有钣金外壳安装繁琐的痛点。其模块化连接方式不仅提高了安装效率,还确保了结构的牢固性,适用于各类机床设备。文档中的图片清晰展示了关键细节,有助于理解实际应用。如果您需要进一步分析特定部分或提取技术参数,我可以继续提供帮助。